技术数据 全自动立式托盘捆扎机
1、电源: 3/ n,pe,(中性线=负载能力)
2.控制电压:24V直流
3、实力得分: 最大三.零千瓦
4. 设备整体重量:约。 800 至 1.000 公斤
5.环境温度限制: + 5 °c 至 + 35 °c
6、输送系统峰值: 输送机的尖峰侧滚轮/链条最小最大 180 毫米800毫米

技术数据 全自动立式托盘捆扎机
KA5 |
||
表带质量和宽度 |
||
宠物 |
9.0 - 18.5 毫米 |
|
聚丙烯 |
/ |
|
带线圈 |
||
芯径 |
406毫米 |
|
外径 |
600毫米 |
|
宽度 |
150毫米 |
|
循环次数 |
7 |
|
表带存储 |
15米 |
|
皮带脱力 |
那。 5N |
|
操作顺序:
1. 包裹被集中传送到捆扎位置。
2. 客户的控制系统向立式捆扎机发出无电压信号。
3. 通过向前移动喷枪系统关闭带轨道(滑槽)框架。
4. 带有捆扎头的机架模块向下移动到包装表面上。 这 带子绕轨道送入。
5. 捆扎循环开始。带子被拉回、拉紧、密封并切断。 通过向后移动喷枪系统打开带轨道(滑槽)框架。 带有捆扎头的机架模块移回到基座位置。
如果是这样,请将包裹运输到下一个捆扎位置并重复捆扎程序。
完成程序后,机器将无电压信号发送回输送机控制系统,以将负载运出机器。
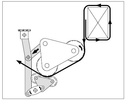
捆扎头主要部件
1 个张力单元
2 密封盒
3 个插头
4 张紧装置
5 摇杆
6张紧轮
张紧装置和反馈回拉驱动装置收紧带子。随着张力的增加,摇杆(杠杆)被抬起。
连杆和压力杆压缩张紧轮。然后仅由张力离合器施加高张力。
带端部相互挤压和摩擦,直到达到确保正确焊接的温度。
控制面板:
位置: 5m电缆组长度内自由选择
方面: 高度: 1.060 毫米,包括柜底 1,060 人
宽度: 600毫米
深度: 480毫米
法规:遵循 VDE 0100/0113、EN 60204,防护等级 IP 54
通过无电压信号与 Cyklop 控制系统连接
可编程逻辑控制器: 西门子S7
触摸屏显示机器状态
捆扎头 CF H1的一般数据:
技术数据
1. 表带质量: 宠物
2. 表带宽度:12.0 毫米至 19 毫米
3. 表带厚度: > 0.58 毫米至 1.12 毫米
4. 送带和收带速度: 2,9 m/秒。
5. 密封类型: 摩擦焊缝
6. 密封时间: 约。 1,5 秒。直到 2 秒。 (取决于带子和张力)
7. 张紧力:200至5.500(密封时间) 多级张紧次数:
8. 包装宽度: 80毫米
9. 表带中心不对称 35 毫米 / 237 毫米
10. 电源供应: 3/ N、PE,(中性线=负载能力)
11. 额定功率 : 1.0千瓦
12. 控制电压: :24伏直流电
13. 重量: 79公斤
14. 喷漆:RAL 7035
更多信息,请随时与我们联系。
战争
WhatsApp:+86 15634865861








